Features: STEP-DOWN CURRENT MODE PWM (1.5MHz) DC-DC CONVERTER 2% DC OUTPUT VOLTAGE TOLERANCE INTERNAL SOFT START FOR START-UP CURRENT LIMITIATION AND POWER ON DELAY OF 50-100s TYPICAL EFFICIENCY: > 70% OVER ALL OPERATING CONDITIONS 1.5A OUTPUT CURRENT CAPABILITY NOT SWITCHING QUIESCENT CURRENT...
ST1S03: Features: STEP-DOWN CURRENT MODE PWM (1.5MHz) DC-DC CONVERTER 2% DC OUTPUT VOLTAGE TOLERANCE INTERNAL SOFT START FOR START-UP CURRENT LIMITIATION AND POWER ON DELAY OF 50-100s TYPICAL EFFICIENCY: &...
SeekIC Buyer Protection PLUS - newly updated for 2013!
268 Transactions
All payment methods are secure and covered by SeekIC Buyer Protection PLUS.
US $.83 - 1.33 / Piece
Switching Converters, Regulators & Controllers 1.5A 1.5 MHz Adj

|
Symbol |
Parameter |
Value |
Unit |
|
VI_SW |
Positive Power Supply Voltage |
-0.3 to 16 |
V |
|
VI_SW |
Positive Power Supply Voltage |
-0.3 to 16 |
V |
|
SWITCH Voltage |
Max Voltage of output pin |
-0.3 to 16 |
V |
|
VFB |
Feedback Voltage |
2.5 |
V |
|
IVFB |
Common mode input voltage |
±1 |
mA |
|
TJ |
Max Junction Temperature |
150 |
°C |
|
TSTG |
Storage Temperature Range |
-25 to 150 |
°C |
|
TLEAD |
Lead Temperature (Soldering) 10 Sec. |
300 |
°C |
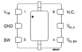
The ST1S03 is a step down DC-DC converter optimized for powering low-voltage digital core in HDD applications and, generally, to replace the high current linear solution when the power dissipation may cause an high heating of the application environment. It provides up to 1.5A over an input voltage range of 3V to 16V. An high switching frequency (1.5MHz) allows the use of tiny surface-mount components: as well as the resistor divider to set the output voltage value, only an inductor, a schottky diode and two capacitors are required. Besides, a low output ripple is guaranteed by the current mode PWM topology and by the use of low E.S.R. SMD ceramic capacitors. The device is thermal protected and current limited to prevent damages due to accidental short circuit. The ST1S03 is available in DFN6 package.