Features: • Low Cost Plastic SOT-26 Package• Low Insertion Loss <0.6dB @ 1900 MHz• Low Power Consumption <20µA @ +3V• Very High Intercept Point: 53 dBm IP3• Both Positive and Negative 2.5 to 8 V Control• For CDMA, W-CDMA, TDMA, GSM, PCS and DCS Appli...
SW-425: Features: • Low Cost Plastic SOT-26 Package• Low Insertion Loss <0.6dB @ 1900 MHz• Low Power Consumption <20µA @ +3V• Very High Intercept Point: 53 dBm IP3•...
SeekIC Buyer Protection PLUS - newly updated for 2013!
268 Transactions
All payment methods are secure and covered by SeekIC Buyer Protection PLUS.
• Low Cost Plastic SOT-26 Package
• Low Insertion Loss <0.6dB @ 1900 MHz
• Low Power Consumption <20µA @ +3V
• Very High Intercept Point: 53 dBm IP3
• Both Positive and Negative 2.5 to 8 V Control
• For CDMA, W-CDMA, TDMA, GSM, PCS and DCS Applications

|
Parameter |
Absolute Maximum |
|
Max. Input Power (0.5 - 3.0 GHz) |
+36 dBm +38 dBm -40°C to +85°C -65°C to +150°C |
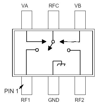
M/A-COM's SW-425 is a GaAs monolithic switch in a low cost SOT-26 surface mount plastic package. The SW-425 is ideally suited for applications where very low power consumption (<10µA@5V), low intermodulation products and very small size are required. Typical applications include Internal/External antenna
select switch for portable telephones and data radios. In addition, because of its low loss, good isolation and inherent speed, the SW-425 can be used as a conventional T/R switch or as an antenna diversity switch. The SW-425 can be used in power applications up to 3 watts in systems such as celluar PCS, CDMA, W-CDMA, TDMA, GSM and other analog/digital wireless communications systems.
The SW-425 is fabricated using a new 0.5 micron gate length GaAs PHEMT process. The process features full chip passivation for increased performance and reliability.