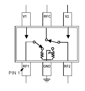
Features: • Low Cost Plastic SOT-26 Package• Low Insertion Loss <0.6 dB @ 900 MHz• High Isolation >38 dB @ 900 MHz• Low Power Consumption <10µA @ +3V• Positive or Negative 2.5 to 8 V ControlPinoutSpecifications Parameter Absolute Maximum1 ...
SW-442: Features: • Low Cost Plastic SOT-26 Package• Low Insertion Loss <0.6 dB @ 900 MHz• High Isolation >38 dB @ 900 MHz• Low Power Consumption <10µA @ +3V• Po...
SeekIC Buyer Protection PLUS - newly updated for 2013!
268 Transactions
All payment methods are secure and covered by SeekIC Buyer Protection PLUS.

|
Parameter |
Absolute Maximum1 |
|
Input Power (0.5 - 3.0 GHz) |
+30 dBm +33 dBm +8.5 Volts -40°C to +85°C -65°C to +150°C |
M/A-COM's SW-442 is a GaAs monolithic switch in a low cost SOT-26 surface mount plastic package. The SW-442 is ideally suited for applications where very low power consumption, low insertion loss, very small size and low cost are required. Typical application is in dual band systems where switching between small signal components is required such as filter banks, single band LNA's, converters etc. The SW-442 can be used in applications up to 0.25 Watts in systems such as CDMA, W-CDMA, PCS, DCS1800, GSM and other analog/digital wireless communications systems.
The SW-442 is fabricated using a mature 0.8 micron GaAs MESFET process. The process features full passivation for increased performance and reliability.