Features: • High speed: tpd = 3.8 ns (typ.) (VCC = 5 V)• Low power dissipation: ICC = 4 µA (max) (Ta = 25°C)• High noise immunity: VNIH = VNIL = 28% VCC (min)• Power down protection is provided on all inputs.• Balanced propagation delays: tpLH tpHL• Wide ...
TC7MH368FK: Features: • High speed: tpd = 3.8 ns (typ.) (VCC = 5 V)• Low power dissipation: ICC = 4 µA (max) (Ta = 25°C)• High noise immunity: VNIH = VNIL = 28% VCC (min)• Power do...
SeekIC Buyer Protection PLUS - newly updated for 2013!
268 Transactions
All payment methods are secure and covered by SeekIC Buyer Protection PLUS.
Features: Low voltage operation: VCC = 1.8~3.6 VHigh speed operation: tpd = 3.5 ns (max) (VCC = 3....
Features: • Low voltage operation: VCC = 1.8~3.6 V• High speed operation: tpd = 3.0 ns...
Features: • 26 series resistors on outputs.• Low voltage operation: VCC = 1.8~3.6 V...

|
Characteristics |
Symbol |
Rating |
Unit |
| Supply voltage range |
VCC |
−0.5~7.0 |
V |
| DC input voltage |
VIN |
−0.5~7.0 |
V |
| DC output voltage |
VOUT |
−0.5~VCC + 0.5 |
V |
| Input diode current |
IIK |
−20 |
mA |
| Output diode current |
IOK |
±20 |
mA |
| DC output current |
IOUT |
±25 |
mA |
| DC VCC/ground current |
ICC |
±50 |
mA |
| Power dissipation |
PD |
180 |
mW |
| Storage temperature |
Tstg |
−65~150 |
°C |
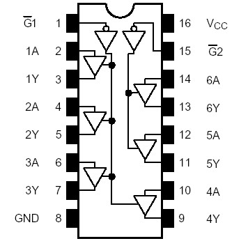
The TC7MH367FK and TC7MH368FK are advanced high speed CMOS HEX bus buffers fabricated with silicon gate C2MOS technology.
The TC7MH368FK achieve the high speed operation similar to equivalent bipolar schottky TTL while maintaining the CMOS low power dissipation.
They contain six buffers; four buffers are controlled by an enable input (G1), and the other two buffers are controlled by another enable input (G2). The outputs of each buffer group are enabled when G1 and/or G2 inputs are held low; if held high, these outputs are in a high impedance state.
The TC7MH367FK is a non-inverting output type, while the TC7MH368FK is an inverting output type.
An input protection circuit ensures that 0 to 7 V can be applied to the input pins without regard to the supply voltage. The TC7MH368FK can be used to interface 5 V to 3 V systems and two supply systems such as battery back up.
This circuit prevents TC7MH368FK destruction due to mismatched supply and input voltages.