Motor / Motion / Ignition Controllers & Drivers Triple-Half-Bridge
TLE6208-3G: Motor / Motion / Ignition Controllers & Drivers Triple-Half-Bridge
SeekIC Buyer Protection PLUS - newly updated for 2013!
268 Transactions
All payment methods are secure and covered by SeekIC Buyer Protection PLUS.
US $1.97 - 2.35 / Piece
Motor / Motion / Ignition Controllers & Drivers Six-fold Half-Bridge Driver
| Type : | Triple Half Bridge Motor Driver | Operating Supply Voltage : | 4.75 V to 5.5 V | ||
| Supply Current : | 2 mA | Mounting Style : | SMD/SMT | ||
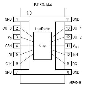
| Package / Case : | DSO | Packaging : | Reel |
• Three Half-Bridges
• Optimized for DC motor management applications
• Delivers up to 0.6 A continuous, 1.2 A peak current
• RDS ON; typ. 0.8 W, @ 25 °C per switch
• Output: short circuit protected and diagnosis
• Overtemperature-Protection with hysteresis
and diagnosis
• Standard SPI-Interface/Daisy chain capable
• Very low current consumption (typ. 10 mA for power
and 2 mA for logic supply, @ 25 °C) in stand-by
(Inhibit) mode
• Over- and Undervoltage-Lockout
• CMOS/TTL compatible inputs with hysteresis
• No crossover current
• Internal clamp diodes
• Enhanced power P-DSO-Package
• Full compatibility to the TLE 5208-6

| Parameter | Symbol | Limit Values | Unit | Remarks | |
| min. | max. | ||||
| Voltages | |||||
| Supply voltage | VS | 0.3 | 40 | V | - |
| Supply voltage | VS | 1 | - | V | t < 0.5 s; IS > 2 A |
| Logic supply voltage | VCC | 0.3 | 5.5 | V | 0 V < VS < 40 V |
| Logic input voltages (DI, CLK, CSN, INH) |
VI | 0.3 | 5.5 | V | 0 V < VS < 40 V 0 V < VCC < 5.5 V |
| Logic output voltage (DO) |
VDO | 0.3 | 5.5 | V | 0 V < VS < 40 V 0 V < VCC < 5.5 V |
| Output voltage (OUT 1-3) |
VOUT | 0.3 | 40 | V | 0 V < VS < 40 V |
| Currents | |||||
| Output current (cont.) | IOUT1-3 | - | - | A | internal limited |
| Output current (peak) | IOUT1-3 | - | - | A | internal limited |
| Limit is mentioned in the overcurrent section of operating range | |||||
| Temperatures | |||||
| Junction temperature | Tj | 40 | 150 | °C | - |
| Storage temperature | Tstg | 50 | 150 | °C | - |
The TLE6208-3G is a fully protected Triple-Half-Bridge-Driver designed specifically for automotive and industrial motion control applications. The part is based on the Siemens power technology SPT® which allows bipolar and CMOS control circuitry in accordance with DMOS power devices existing on the same monolithic circuitry.
In motion control TLE6208-3G up to 2 actuators (DC-Motors) can be connected to the 3 halfbridgeoutputs (cascade configuration). Operation modes forward (cw), reverse (ccw), brake and high impedance are controlled from a standard SPI-Interface. The possibility to control the outputs via software from a central logic, allows limiting the power dissipation. So the standard P-DSO-14-package meets the application requirements and saves PCB-Board-space and cost. Furthermore the build-in features like Over- and Undervoltage-Lockout, Over-Temperature-Protection and the very low quiescent current in stand-by mode opens a wide range of automotive- and industrial-applications.
| Technical/Catalog Information | TLE6208-3G |
| Vendor | Infineon Technologies |
| Category | Integrated Circuits (ICs) |
| Applications | Automotive |
| Number of Outputs | 2 |
| Voltage - Supply | 5.6 V ~ 40 V |
| Voltage - Load | - |
| Current - Output | 600mA |
| Operating Temperature | -40°C ~ 150°C |
| Package / Case | DSO-14 |
| Packaging | Tape & Reel (TR) |
| Lead Free Status | Lead Free |
| RoHS Status | RoHS Compliant |
| Other Names | TLE6208 3G TLE62083G |