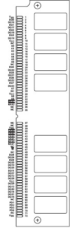
PinoutSpecificationsVoltage range on any pin (see Note 1) . . . . . . . . . . . . . . . . . . . 1 V to 7 VVoltage range on VCC (see Note 1) . . . . . . . . . . . . . . . . . . . . . . 1 V to 7 VShort-circuit output current . . . . . . . . . . . . . . . . . . . . . . . . . . . . . . . . .50 mAPowe...
TM248CBK32S: PinoutSpecificationsVoltage range on any pin (see Note 1) . . . . . . . . . . . . . . . . . . . 1 V to 7 VVoltage range on VCC (see Note 1) . . . . . . . . . . . . . . . . . . . . . . 1 V to 7 VSho...
SeekIC Buyer Protection PLUS - newly updated for 2013!
268 Transactions
All payment methods are secure and covered by SeekIC Buyer Protection PLUS.
US $509.61 - 551.2 / Piece
Anti-Static Control Products 2 LAYER ROLL/RUNNER GRAY RUBBER 2.5x 40'
US $41.96 - 45.94 / Piece
Anti-Static Control Products QUALITY 24X36 BLUE TABLE MAT W/SGC

The TM248CBK32S is a dynamic random-access memory (DRAM) organized as four times 1048576 × 8 in a 72-pin leadless single in-line memory module(SIMM). The SIMM is composed of eight TMS44400, 1048576 × 4-bit DRAMs, each in 20/26-lead plastic SOJ packages, mounted on a substrate together with decoupling capacitors. Each TMS44400 is described in the TMS44400 data sheet.
The TM248CBK32S is available in the single-sided BK leadless module for use with sockets.
TheTM248CBK32S features RAS access times of 60 ns, 70 ns and 80 ns. This device is rated for operation from
0°C to 70°C
The TM248CBK32 is a dynamic random-access memory organized as four times 2097152 × 8 in a 72-pin leadless SIMM. The SIMM is composed of sixteen TMS44400, 1048576 × 4-bit dynamic RAMs, each in 20/26-lead plastic SOJ packages SOJs, mounted on a substrate together with decoupling capacitors. Each TMS44400 is described in the TMS44400 data sheet.
The TM248CBK32 is available in the double-sided BK leadless module for use with sockets.
The TM248CBK32 features RAS access times of 60 ns, 70 ns and 80 ns. This device is rated for operation from 0°C to 70°C