Power Driver ICs SOLID STATE RELAY
SeekIC Buyer Protection PLUS - newly updated for 2013!
268 Transactions
All payment methods are secure and covered by SeekIC Buyer Protection PLUS.
Features: • OUTPUT CURRENT: 1A PER CHANNEL• DIGITAL INPUTS CLAMPED AT 32V MINIMUM VOLT...
| Product : | MOSFET Gate Drivers | Type : | High Side | ||
| Supply Voltage - Max : | 36 V | Supply Voltage - Min : | 10 V | ||
| Supply Current : | 10 mA | Mounting Style : | SMD/SMT | ||
| Package / Case : | PowerSO-10 | Packaging : | Tube |

|
Parameter |
Symbol |
Value |
Units |
|
Power supply voltage |
V(BR)DSS |
45 |
V |
|
Reverse supply voltage
|
IOUT |
0.3
|
MA
|
|
Output current (continuos) |
IR |
Internally limited |
A |
|
Reverse output current (per channel) |
IIN |
-6 |
mA |
|
Input current (per channel) |
-VCC |
± 10 |
mA |
|
Diag pin current |
ISTAT |
±10 |
mA |
|
Electrostatic discharge (R = 1.5KΩ; C = 100pF) |
VESD |
2000 |
V |
|
Single pulse avalanche energy per channel not simultaneously Figure 4. |
Ptot |
Internally limited |
°C |
|
Storage Temperature
|
VCSENSE |
-55 to 150 |
°C |
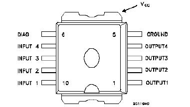
The VN330SP-E is a monolithic device made using STMicroelectronics VIPower technology, intended for driving four indipendent resistive or inductive loads, with one side connected to ground. Active current limitation avoids dropping the system power supply in case of shorted load. Built-in thermal shut-down protects the chip from overtemperature and short circuit. The open drain diagnostic output indicates overtemperature conditions.
| Technical/Catalog Information | VN330SP-E |
| Vendor | STMicroelectronics |
| Category | Integrated Circuits (ICs) |
| Package / Case | PowerSO-10 Exposed Bottom Pad |
| Mounting Type | Surface Mount |
| Type | High Side |
| Voltage - Supply | 10 V ~ 36 V |
| On-State Resistance | 200 mOhm |
| Current - Output / Channel | 700mA |
| Current - Peak Output | 4A |
| Packaging | Tube |
| Input Type | Non-Inverting |
| Number of Outputs | 4 |
| Operating Temperature | - |
| Drawing Number | * |
| Lead Free Status | Lead Free |
| RoHS Status | RoHS Compliant |
| Other Names | VN330SP E VN330SPE 497 5052 5 ND 49750525ND 497-5052-5 |