Features: ICC and IOZ reduced by 50%Inverting 3-STATE outputs drive bus lines or buffer memory address registersOutputs source/sink 24 mAACT240 has TTL-compatible inputsPinoutSpecificationsSupply Voltage (VCC).................. −0.5V to +7.0VDC Input Diode Current (IIK) VI= −0.5V.........
74AC240: Features: ICC and IOZ reduced by 50%Inverting 3-STATE outputs drive bus lines or buffer memory address registersOutputs source/sink 24 mAACT240 has TTL-compatible inputsPinoutSpecificationsSupply Vo...
SeekIC Buyer Protection PLUS - newly updated for 2013!
268 Transactions
All payment methods are secure and covered by SeekIC Buyer Protection PLUS.

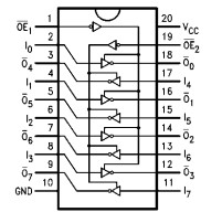
The 74AC240 is an octal buffer and line driver designed to be employed as a memory address driver, clock driver and bus oriented transmitter or receiver which provides improved PC board density.