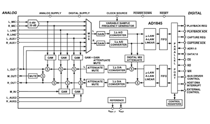
Features: Single-Chip Integrated åD Digital Audio Stereo CodecMicrosoft® and Windows® Sound System CompatibleMPC Level-2+ Compliant Mixing16 mA Bus Drive CapabilitySupports Two DMA Channels for Full Duplex OperationOn-Chip Capture and Playback FIFOsAdvanced Power-Down ModesProgrammab...
AD1845: Features: Single-Chip Integrated åD Digital Audio Stereo CodecMicrosoft® and Windows® Sound System CompatibleMPC Level-2+ Compliant Mixing16 mA Bus Drive CapabilitySupports Two DMA Cha...
SeekIC Buyer Protection PLUS - newly updated for 2013!
268 Transactions
All payment methods are secure and covered by SeekIC Buyer Protection PLUS.


| # of ADCs | 2 |
| # DAC | 2 |
| ADC DNR (dB) | 73dB |
| DAC DNR (dB) | 74dB |
| Number of Channels | 2 |