Features: `5 V Stereo Audio DAC System`Accepts 16-Bit/18-Bit/20-Bit/24-Bit Data`Supports 24 Bits, 192 kHz Sample Rate`Accepts a Wide Range of Sample Rates Including:`32 kHz, 44.1 kHz, 48 kHz, 88.2 kHz, 96 kHz, and 192 kHz`Multibit Sigma-Delta Modulator with Perfect`Differential Linearity Restorat...
AD1852: Features: `5 V Stereo Audio DAC System`Accepts 16-Bit/18-Bit/20-Bit/24-Bit Data`Supports 24 Bits, 192 kHz Sample Rate`Accepts a Wide Range of Sample Rates Including:`32 kHz, 44.1 kHz, 48 kHz, 88.2 k...
SeekIC Buyer Protection PLUS - newly updated for 2013!
268 Transactions
All payment methods are secure and covered by SeekIC Buyer Protection PLUS.


| DAC DNR (dB) | 114dB |
| SNR (dB) | 114dB |
| DAC THD+N @ 1 kHz (-3dB) | 104dB |
| Product Description | Stereo, 24-bit 192 kHz Multibit Sigma-Delta D/A (Voltage Output) |
| Min | Max | Units | |
| DVDD to DGND AVDD to AGND Digital Inputs Analog Outputs AGND to DGND Reference Voltage Soldering |
0.3 0.3 DGND 0.3 AGND 0.3 0.3 |
6 6 DVDD + 0.3 AVDD + 0.3 0.3 (AVDD + 0.3)/2 +300 10 |
V V V V V °C sec |
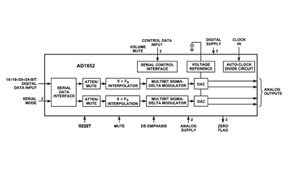
The AD1852 is a complete high performance single-chip stereo digital audio playback system. It is comprised of a multibit sigmadelta modulator, digital interpolation filters, and analog output drive circuitry. Other features include an on-chip stereo attenuator and mute, programmed through an SPI-compatible serial control port. The AD1852 is fully compatible with all known DVD formats including 192 kHz as well as 96 kHz sample frequencies and 24 bits. It also is backwards compatible by supporting 50 ms/15 ms digital de-emphasis intended for "Redbook" compact discs, as well as de-emphasis at 32 kHz and 48 kHz sample rate.
The AD1852 has a very simple but very flexible serial data input port that allows for glueless interconnection to a variety of ADCs, DSP chips, AES/EBU receivers and sample rate converters. The AD1852 can be configured in left-justified, I2S, right-justified, or DSP serial port compatible modes. It can support 16, 18, 20, and 24 bits in all modes. The AD1852 accepts serial audio data in MSB first, twos-complement format. The AD1852 operates from a single 5 V power supply. It is fabricated on a single monolithic integrated circuit and is housed in a 28-lead SSOP package for operation over the temperature range 0°C to 70°C.