Features: `5V Power Supply Stereo Audio DAC System.`Accepts 16/18/20/24-Bit Data`Supports 24-Bits, 192kHz Sample Rate PCM Audio Data`Supports SACD bit-stream and External Digital Filter Interface`Accepts a Wide Range of PCM Sample Rates Including:32kHz, 44.1kHz. 48kHz, 88.2kHz, 96kHz, and 192kHz`M...
AD1955: Features: `5V Power Supply Stereo Audio DAC System.`Accepts 16/18/20/24-Bit Data`Supports 24-Bits, 192kHz Sample Rate PCM Audio Data`Supports SACD bit-stream and External Digital Filter Interface`Ac...
SeekIC Buyer Protection PLUS - newly updated for 2013!
268 Transactions
All payment methods are secure and covered by SeekIC Buyer Protection PLUS.
US $209.25 - 209.25 / Piece
Photodiodes Si APD Enhanced for 905nm 1950um Area


| DAC DNR (dB) | 120dB |
| SNR (dB) | 120dB |
| DAC THD+N @ 1 kHz (-3dB) | 110dB |
| Product Description | Multibit Sigma-Delta D/A w/ SACD Playback |
|
Min |
Max |
Units | |
| DVDD to DGND |
-0.3 |
6 |
V |
| AVDD to AGND |
-0.3 |
6 |
V |
| Digital Inputs |
DGND - 0.3 |
DVDD + 0.3 |
V |
| Analog Outputs |
AGND - 0.3 |
ADVDD + 0.3 |
V |
| AGND to DGND |
0.3 |
0.3 |
V |
| Reference Voltage |
(AVDD + 0.3)/2 |
||
| Soldering |
+300 10 |
°C sec |
* Stresses greater than those listed under Absolute Maximum Ratings may cause permanent damage to the device. This is a stress rating only; functional operation of the device at these or any other conditions above those indicated in the operational section of this specification is not implied. Exposure to absolute maximum rating conditions for extended periods may affect device reliability.
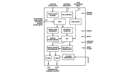
The AD1955 is a complete, high performance, single chip stereo digital audio playback system comprised of a multi-bit sigma-delta modulator, digital interpolation filters and a continuous-time
The AD1955 is a complete high performance single-chip stereo digital audio playback system. It is comprised of a multibit sigma-delta modulator, high performance digital interpolation filters, and continuoustime differential current output DAC section. Other features include an on-chip clickless stereo attenuator, mute capability, programmed through an SPI-compatible serial control port. The AD1955 is fully compatible with all known DVD audio formats including 192kHz as well as 96kHz sample frequencies and 24-bits. It also is backwards compatible by supporting 50/15s digital de-emphasis intended for "redbook" Compact Discs, as well as de-emphasis at 32kHz and 48kHz sample rate.
The AD1955 has a very flexible serial data input port that allows for glueless interconnection to a variety of ADCs, DSPs, SACD decoder,external digital filter, AES/EBU receivers and sample rate converters.The AD1955 can be configured in Left-justified, I2S, Right-Justified, or DSP serial port compatible modes. It can support MSB first, twoscompliment format, 16, 18, 20 and 24 bits in all standard PCM modes.Also the AD1955 has an interface for SACD playback and an external digital filter interface for use with an external digital interpolation filter or HDCD decoder. The AD1955 uses a +5 V power supply. It is fabricated on a single monolithic integrated circuit and is housed in a 28-
pin SSOP package for operation over the temperature range -40 to +105.