Features: `Programmable capacitance-to-digital converter30 Hz update rate (@ maximum sequence length)Better than one femto Farad resolution14 capacitance sensor input channelsNo external RC tuning components requiredAutomatic conversion sequencer`On-chip automatic calibration logicAutomatic compen...
AD7142: Features: `Programmable capacitance-to-digital converter30 Hz update rate (@ maximum sequence length)Better than one femto Farad resolution14 capacitance sensor input channelsNo external RC tuning c...
SeekIC Buyer Protection PLUS - newly updated for 2013!
268 Transactions
All payment methods are secure and covered by SeekIC Buyer Protection PLUS.


AVCC to AGND, DVCC to DGND................... −0.3 V to +3.6 V
Analog Input Voltage to AGND.........−0.3 V to AVCC + 0.3 V
Digital Input Voltage to DGND.......−0.3 V to VDRIVE + 0.3 V
Digital Output Voltage to DGND.....−0.3 V to VDRIVE + 0.3 V
Input Current to Any Pin Except Supplies1.................10 mA
ESD Rating..................................................................2.5 kV
Operating Temperature Range ..............−40°C to +105°C
Storage Temperature Range .................−65°C to +150°C
Junction Temperature ...............................................150°C
LFCSP Package
Power Dissipation ...................................................450 mW
JA Thermal Impedance ....................................135.7°C/W
IR Reflow Peak Temperature ....................260°C (±0.5°C)
Lead Temperature (Soldering 10 sec) ......................300°C
1 Transient currents of up to 100 mA do not cause SCR latch-up.
Stresses above those listed under Absolute Maximum Ratings may cause permanent damage to the device. This is a stress rating only; functional operation of the device at these or any other conditions above those indicated in the operational section of this specification is not implied. Exposure to absolute maximum rating conditions for extended periods may affect device reliability.
| Resolution (Bits) | 16bit |
| T-Put Rate | 27.8SPS |
| # Chan | 14 |
| Supply V | Single(+2.6 to +3.6),Single(+2.7),Single(+3),Single(+3.3) |
| Pwr Diss (max) | 3.6mW |
| Sleep Pwr Diss | 65W |
| Ain Range | ± 2 pF (Delta C) |
| Ref Int/Ext | Int/Ext |
| Product Description | CAPTouch (TM) Programmable Controller for 2-Electrode Capacitance Sensor with SPI or I2C Interface |
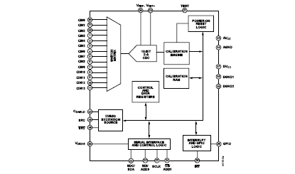
The AD7142 and AD7142-1 are integrated capacitance-to-digital converters (CDCs) with on-chip environmental calibration for use in systems requiring a novel user input method. The AD7142 and AD7142-1 can interface to external capacitance sensors implementing functions such as capacitive buttons, scroll bars, or joypads.
The CDC has 14 inputs, channeled through a switch matrix to a 16-bit, 240 kHz sigma-delta (-) capacitance-to- igital converter. The CDC AD7142 is capable of sensing changes in the capacitance of the external sensors and uses this information to register a sensor activation. The external sensors can be arranged as a series of buttons, as a scroll bar or wheel, or as a combination of sensor types. By programming the registers, the user has full control over the CDC setup. High resolution scroll bar sensors require software to run on the host processor.
The AD7142 and AD7142-1 have on-chip calibration logic to account for changes in the ambient environment. The calibration sequence is performed automatically and at continuous intervals, while the sensors are not touched. This ensures that there are no false or nonregistering touches on the external sensors due to a changing environment.
The AD7142 has an SPI-compatible serial interface, and the AD7142-1 has an I2C-compatible serial interface. Both versions of AD7142 have an interrupt output, as well as a general-purpose input output (GPIO).
The AD7142 and AD7142-1 are available in a 32-lead, 5 mm * 5 mm LFCSP package and operate from a 2.7 V to 3.3 V supply. The operating current consumption is less than 1 mA, falling to 50 A in low power mode (conversion interval of 400 ms).