Features: ·Composite Video Output: Both NTSC and PAL·Chrominance and Luminance (S-Video) Outputs·Luma Trap Port to Eliminate Cross Color Artifacts·TTL Logic Levels·Integrated Delay Line and Auto-Tuned Filters·Drives 75 V Reverse-Terminated Loads·Low Power +5 V OperationPower-Down to <1 mA·Very ...
AD725: Features: ·Composite Video Output: Both NTSC and PAL·Chrominance and Luminance (S-Video) Outputs·Luma Trap Port to Eliminate Cross Color Artifacts·TTL Logic Levels·Integrated Delay Line and Auto-Tun...
SeekIC Buyer Protection PLUS - newly updated for 2013!
268 Transactions
All payment methods are secure and covered by SeekIC Buyer Protection PLUS.


| Supply Voltage, APOS to AGND | +6 V |
| Supply Voltage, DPOS to DGND | +6 V |
| AGND to DGND | 0.3 V to +0.3 V |
| Inputs | DGND 0.3 to DPOS + 0.3 V |
| Internal Power Dissipation | 800 mW |
| Operating Temperature Range | 40 to +85 |
| Storage Temperature Range | 65 to +125 |
| Lead Temperature Range (Soldering 30 sec) | +230 |
*Stresses above those listed under Absolute Maximum Ratings may cause permanent damage to the device. This is a stress rating only; functional operation of the device at these or any other conditions above those indicated in the operational section of this specification is not implied. Exposure to absolute maximum rating conditions for extended periods may affect device reliability.
Thermal Characteristics: 16-Pin SOIC Package: qJA = 100/W.
| # DAC | n/a |
| Resolution (Bits) | n/a |
| Standard Definition | X |
| Component RGB/YPbPr | RGB only |
| CVBS/S-Video | X |
| I/O Supply (V) | 5V |
| Package | 16-Lead SOIC |
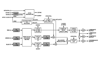
The AD725 is a very low cost general purpose RGB to NTSC/ PAL encoder that converts red, green and blue color component signals into their corresponding luminance (baseband amplitude) and chrominance (subcarrier amplitude and phase) signals in accordance with either NTSC or PAL standards. These two outputs are also combined on-chip to provide a composite video output. All three outputs are available separately at voltages of twice the standard signal levels as required for driving 75 W, reverse-terminated cables.
The AD725 features a luminance trap (YTRAP) pin that provides a means of reducing cross color generated by subcarrier frequency components found in the luminance signal. For portable or other power-sensitive applications, the device can be powered down to less than 1 mA of current consumption. All logic levels are TTL compatible thus supporting the logic requirements of 3 V CMOS systems.
The AD725 is packaged in a low cost 16-lead SOIC and operates from a +5 V supply.