Features: `Specified for VDD of 3 V and 5 V`Low power at max throughput rate:3.3 mW max at 555 kSPS with 3 V supplies7.25 mW max at 555 kSPS with 5 V supplies`Fully differential analog input Wide input bandwidth:70 dB SINAD at 100 kHz input frequency`Flexible power/serial clock speed management`No...
AD7452: Features: `Specified for VDD of 3 V and 5 V`Low power at max throughput rate:3.3 mW max at 555 kSPS with 3 V supplies7.25 mW max at 555 kSPS with 5 V supplies`Fully differential analog input Wide in...
SeekIC Buyer Protection PLUS - newly updated for 2013!
268 Transactions
All payment methods are secure and covered by SeekIC Buyer Protection PLUS.


| Parameter | Rating |
| VDD to GND VIN+ to GND VIN to GND Digital Input Voltage to GND Digital Output Voltage to GND VREF to GND Input Current to Any Pin Except Supplies1 Operating Temperature Range Commercial (B Version) Storage Temperature Range Junction Temperature JA Thermal Impedance JC Thermal Impedance Lead Temperature, Soldering Vapor Phase (60 secs) Infrared (15 secs) ESD |
0.3 V to +7 V 0.3 V to VDD + 0.3 V 0.3 V to VDD + 0.3 V 0.3 V to +7 V 0.3 V to VDD + 0.3 V 0.3 V to VDD + 0.3 V ±10 mA 40 to +85 65 to +150 150 211.5/W 91.99/W 215 220 1 kV |
| Resolution (Bits) | 12bit |
| T-Put Rate | 555kSPS |
| # Chan | 1 |
| Supply V | Single(+5),Single(+3),Single(+3.3) |
| Pwr Diss | 7.25mW |
| Interface | Ser,SPI |
| Ain Range | (2Vref) p-p |
| SNR (dB) | n/a |
| Pkg Type | SOT |
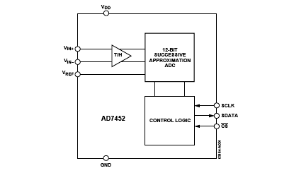
The AD74521 is a 12-bit, high speed, low power, successive approximation (SAR) analog-to-digital converter that features a fully differential analog input. This part operates from a single 3 V or 5 V power supply and features throughput rates up to 555 kSPS.
The part AD7452 contains a low noise, wide bandwidth, differential track-and-hold amplifier (T/H) that can handle input frequencies up to 3.5 MHz. The reference voltage is applied externally to the VREF pin and can be varied from 100 mV to 3.5 V depending on the power supply and what suits the application. The value of the reference voltageetermines the common-mode voltage range of the part. With this truly differential input structure and variable reference input, the user can select a variety of input ranges and bias points.
The conversion process and data acquisition of AD7452 are controlled usingCS and the serial clock, allowing the device to interface with microprocessors or DSPs. The input signals are sampled on the falling edge of CS, and the conversion is also initiated at this point.
The SAR architecture of this part ensures that there are no pipeline delays.
The AD7452 uses advanced design techniques to achieve very low power dissipation