Features: 300 MHz Internal Clock Rate Integrated 12-Bit Output DACs Ultrahigh-Speed, 3 ps RMS Jitter Comparator Excellent Dynamic Performance: 80 dB SFDR @ 100 MHz (61 MHz) AOUT 43 to 203 Programmable Reference Clock Multiplier Dual 48-Bit Programmable Frequency Registers Dual 14-Bit Progra...
AD9852: Features: 300 MHz Internal Clock Rate Integrated 12-Bit Output DACs Ultrahigh-Speed, 3 ps RMS Jitter Comparator Excellent Dynamic Performance: 80 dB SFDR @ 100 MHz (61 MHz) AOUT 43 to 203 Progr...
SeekIC Buyer Protection PLUS - newly updated for 2013!
268 Transactions
All payment methods are secure and covered by SeekIC Buyer Protection PLUS.


| Compliance Range (V) | 1V |
| FS Iout (mA nom) | 20mA |
| I Supply total (max) | 922mA |
| I/O Interface | Parallel,Serial |
| Master fclk | 300MHz |
| Nominal Supply (V) | Single(+3.3) |
| On-Board Comparator | Yes |
| REFCLK Multiplier | Yes |
| Resolution (Bits) | 12bit |
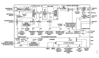
The AD9852 digital synthesizer is a highly integrated device that uses advanced DDS technology, coupled with an internal high-speed, high-performance D/A converters and a comparator to form a digitally-programmable agile synthesizer function. When referenced to an accurate clock source, the AD9852 generates a highly stable, frequency-phase amplitude-programmable sine wave output that can be used as an agile L.O. in communications, radar, and many other applications.
The AD9852's innovative high-speed DDS core provides 48-bit frequency resolution (1 microHertz tuning steps). Phase truncation to 17 bits assures excellent SFDR. The AD9852's circuit architecture allows the