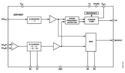
Features: 7.5 GHz bandwidth Maximum PFD frequency of 120 MHz Divide ratios of 8, 16, 32, or 64 2.7 V to 3.3 V power supply Separate charge pump supply (VP) allowsextended tuning voltage in 3 V systems RSET contol of charge pump current Hardware power-down mode ApplicationSatellite communications B...
ADF4007: Features: 7.5 GHz bandwidth Maximum PFD frequency of 120 MHz Divide ratios of 8, 16, 32, or 64 2.7 V to 3.3 V power supply Separate charge pump supply (VP) allowsextended tuning voltage in 3 V syste...
SeekIC Buyer Protection PLUS - newly updated for 2013!
268 Transactions
All payment methods are secure and covered by SeekIC Buyer Protection PLUS.


| Type | Single Integer-N |
| Max RF Input (MHz) | 7500MHz |
| Norm Phase Noise (dBc/Hz) | -219dBc |
| Max REFin (MHz) | 240MHz |
| RF Prescalers | N counter = 8/16/32/64 |
| Supply Current | 13mA |
| Package | 20-Lead CSP |