Features: ·RF bandwidth to 6 GHz·2.7 V to 3.3 V power supply·Separate VP allows extended tuning voltage·Programmable fractional modulus·Programmable charge pump currents·3-wire serial interface·Digital lock detect·Power-down mode·Pin compatible with ADF4110/ADF4111/ADF4112/ADF4113/ADF4106/ ADF4153...
ADF4156: Features: ·RF bandwidth to 6 GHz·2.7 V to 3.3 V power supply·Separate VP allows extended tuning voltage·Programmable fractional modulus·Programmable charge pump currents·3-wire serial interface·Digi...
SeekIC Buyer Protection PLUS - newly updated for 2013!
268 Transactions
All payment methods are secure and covered by SeekIC Buyer Protection PLUS.

| Type | Single Fractional-N |
| Max RF Input (MHz) | 6000MHz |
| Norm Phase Noise (dBc/Hz) | -213dBc |
| Max REFin (MHz) | 250MHz |
| RF Prescalers | 4/5,8/9 |
| Supply Current | 12mA |
| Package | 16-Lead TSSOP,20-Lead CSP |
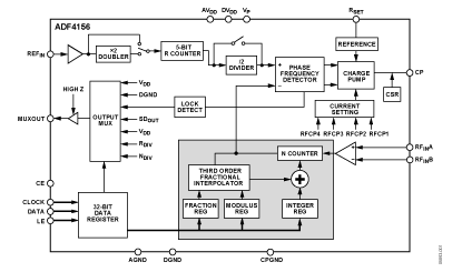
The ADF4156 is a 6 GHz fractional-N frequency synthesizer that implements local oscillators in the upconversion and downconversion sections of wireless receivers and transmitters. It consists of a low noise digital phase frequency detector (PFD), a precision charge pump, and a programmable reference divider. There is a sigma-delta (-) based fractional interpolator to allow programmable fractional-N division. The INT, FRAC, and MOD registers define an overall N divider (N = (INT + (FRAC/MOD))). The RF output phase is programmable for applications that require a particular phase relationship between the output and the reference. The ADF4156 also features cycle slip reduction circuitry leading to faster lock times without the need for modifications to the loop filter.
Control of all on-chip registers is via a simple 3-wire interface. ADF4156 operates with a power supply ranging from 2.7 V to 3.3 V and can be powered down when not in use.