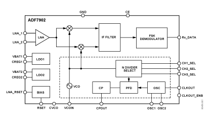
PinoutSpecifications Modulation Mode FSK Output Frequency Range 369.5MHz-395.9MHz Maximum Data Rate (kbps) 2kbps ...
ADF7902: PinoutSpecifications Modulation Mode FSK Output Frequency Range 369.5MHz-395.9MHz ...
SeekIC Buyer Protection PLUS - newly updated for 2013!
268 Transactions
All payment methods are secure and covered by SeekIC Buyer Protection PLUS.

| Modulation Mode | FSK |
| Output Frequency Range | 369.5MHz-395.9MHz |
| Maximum Data Rate (kbps) | 2kbps |
| Package | 24-Lead Tssop |