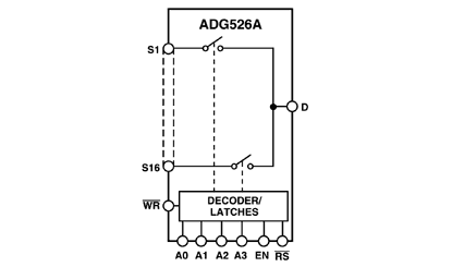
PinoutSpecifications Sw/Mx Function x # (16:1) x 1 Interface Type Parallel Available Packages DIP,LCC,SOIC Max Analog Signal Ran...
ADG526A: PinoutSpecifications Sw/Mx Function x # (16:1) x 1 Interface Type Parallel ...
SeekIC Buyer Protection PLUS - newly updated for 2013!
268 Transactions
All payment methods are secure and covered by SeekIC Buyer Protection PLUS.

| Sw/Mx Function x # | (16:1) x 1 |
| Interface Type | Parallel |
| Available Packages | DIP,LCC,SOIC |
| Max Analog Signal Range | Vss to Vdd |
| Ron (Ohms) | 280Ohms |
| Ron Match (Ohms) | 14Ohms |
| Cs (OFF) | 5pF |
| Cs, Cd (ON) | n/a |
| Off Isolation (-dB) | 68dB |
| Bandwidth | n/a |