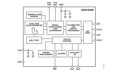
PinoutSpecifications Range +/- 90° or +/- 180° Sensitivity 0.025 °/LSB Sensitivity Accuracy (%) ±0.4n/a Output Type SPI ...
ADIS16209: PinoutSpecifications Range +/- 90° or +/- 180° Sensitivity 0.025 °/LSB Se...
SeekIC Buyer Protection PLUS - newly updated for 2013!
268 Transactions
All payment methods are secure and covered by SeekIC Buyer Protection PLUS.

| Range | +/- 90° or +/- 180° |
| Sensitivity | 0.025 °/LSB |
| Sensitivity Accuracy (%) | ±0.4n/a |
| Output Type | SPI |
| Typical Bandwidth (kHz) | 0.05kHz |
| Voltage Supply (V) | 3 to 3.6 |
| Supply Current | 14mA |
| Temp Range (°C) | -40 to 125°C |
| Package | 9 mm x 9mm LGA |