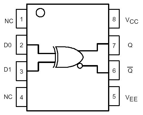
Features: • 260ps Propagation Delay• High Bandwidth Output Transitions• 75k Internal Input Pulldown Resistors• Direct Replacement for ON Semiconductor MC10EL07 & MC100EL07PinoutSpecifications Symbol Characteristic Rating Unit VCC PECL Power Supply (VEE = 0V)...
AZ10EL07: Features: • 260ps Propagation Delay• High Bandwidth Output Transitions• 75k Internal Input Pulldown Resistors• Direct Replacement for ON Semiconductor MC10EL07 & MC100EL0...
SeekIC Buyer Protection PLUS - newly updated for 2013!
268 Transactions
All payment methods are secure and covered by SeekIC Buyer Protection PLUS.

| Symbol | Characteristic | Rating | Unit |
| VCC | PECL Power Supply (VEE = 0V) | 0 to +8.0 | Vdc |
| VI | PECL Input Voltage (VEE = 0V) | 0 to +8.0 | Vdc |
| VEE | ECL Power Supply (VCC = 0V) | -8.0 to 0 | Vdc |
| VI | ECL Input Voltage (VCC = 0V) | -6.0 to 0 | Vdc |
| IOUT | Output Current - Continuous - Surge |
50 100 |
mA |
| TA | Operating Temperature Range | -40 to +85 | °C |
| TSTG | Storage Temperature Range | -65 to +150 | °C |
The AZ10/100EL07 is a 2-input XOR/XNOR gate. The device is functionally equivalent to the E107 device with higher performance capabilities. With propagation delays and output transition times significantly faster than the E107, the EL07 is ideally suited for those applications that require the ultimate in AC performance. NOTE: Specifications in ECL/PECL tables are valid when thermal equilibrium is established.