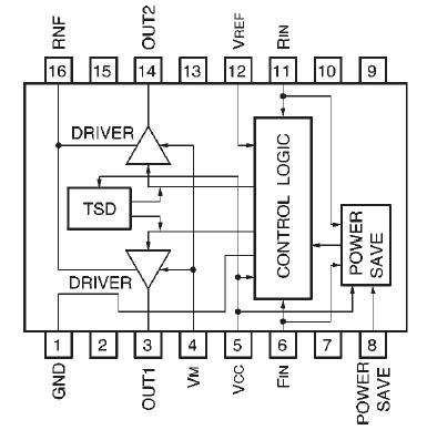
Features: Logic and power sections have separate ground pins; this allows the IC to drive speed-variable, reversible motors by connecting an electronic governor circuit. Built-in power saving circuit suppresses the stop mode current dissipation. Output voltage can be set arbitrarily with the Vref ...
BA6285FS: Features: Logic and power sections have separate ground pins; this allows the IC to drive speed-variable, reversible motors by connecting an electronic governor circuit. Built-in power saving circui...
SeekIC Buyer Protection PLUS - newly updated for 2013!
268 Transactions
All payment methods are secure and covered by SeekIC Buyer Protection PLUS.
Logic and power sections have separate ground pins; this allows the IC to drive speed-variable, reversible motors by connecting an electronic governor circuit.
Built-in power saving circuit suppresses the stop mode current dissipation.
Output voltage can be set arbitrarily with the Vref pin.
Interfaces with TTL devices.
Built-in thermal shutdown circuit.

| Parameter | Symbol | Limits | Unit | |
| Power supply Voltage | VCC | 18 | V | |
| Power dissipation | BA6285FS | Pd | 800*1 | mW |
| BA6285FP | 1500*2 | |||
| Operating temperature | Topr | -20~+75 | ||
| Storage temperature | Tstg | -55~+150 | ||
| Output current | IOMax | 1000*3 | mA | |
The BA6285FS and BA6285FP are reversible-motor drivers with a maximum output current of 1.0A. Two logic inputs allow four output modes: forward, reverse, stop (idling), and brake. A built-in power saving circuit suppresses current consumption when the motor is in stop mode.