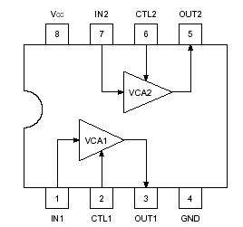
Features: 1) Wide bandwidth.2) Wide dynamic range.3) Low power cousumption.4) Output muting possible.5) Low voltage gain temperature drift.ApplicationVideo cassette recorders and camcordersPinoutSpecifications Parameter Symbol Limits Unit Power supply voltage VCCMax. 8.0 ...
BA7655AF: Features: 1) Wide bandwidth.2) Wide dynamic range.3) Low power cousumption.4) Output muting possible.5) Low voltage gain temperature drift.ApplicationVideo cassette recorders and camcordersPinoutSpe...
SeekIC Buyer Protection PLUS - newly updated for 2013!
268 Transactions
All payment methods are secure and covered by SeekIC Buyer Protection PLUS.

|
Parameter |
Symbol |
Limits |
Unit |
| Power supply voltage |
VCCMax. |
8.0 |
V |
| Power dissipation |
Pd |
500 (BA7655A : DIP8)*1 350 (BA7655AF : SOP8)*2 |
mW |
| Operating temperature |
Topr |
20 ~ +80 |
°C |
| Storage temperature |
Tstg |
55 ~ + 125 |
°C |