BT138B-600E

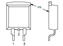
ApplicationWhere application information is given, it is advisory and does not form part of the specification.Pinout PIN DESCRIPTION 1 main terminal 1 2 main terminal 2 3 gate mb main terminal 2...

product image

BT138B-600E Picture
SeekIC No. : 004302543 Detail

BT138B-600E: ApplicationWhere application information is given, it is advisory and does not form part of the specification.Pinout PIN DESCRIPTION 1 main terminal 1...

floor Price/Ceiling Price

Part Number:
BT138B-600E
Supply Ability:
5000

Price Break

  • Qty
  • 1~5000
  • Unit Price
  • Negotiable
  • Processing time
  • 15 Days
Total Cost: $ 0.00

SeekIC Buyer Protection PLUS - newly updated for 2013!

  • Escrow Protection.
  • Guaranteed refunds.
  • Secure payments.
  • Learn more >>

Month Sales

268 Transactions

Rating

evaluate  (4.8 stars)

Upload time: 2025/12/6

Payment Methods

All payment methods are secure and covered by SeekIC Buyer Protection PLUS.

Notice: When you place an order, your payment is made to SeekIC and not to your seller. SeekIC only pays the seller after confirming you have received your order. We will also never share your payment details with your seller.
Product Details

Description



Application

Where application information is given, it is advisory and does not form part of the specification.


Pinout

  Connection Diagram
PIN DESCRIPTION
1 main terminal 1
2 main terminal 2
3 gate
mb main terminal 2



Description

Glass passivated, sensitive gate triacs BT138B-600E in a plastic envelope suitable for surface mounting, intended for use in general purpose bidirectional switching and phase control applications, where high sensitivity is required in all four quadrants.


Customers Who Bought This Item Also Bought

Margin,quality,low-cost products with low minimum orders. Secure your online payments with SeekIC Buyer Protection.
Tapes, Adhesives
803
Boxes, Enclosures, Racks
Optical Inspection Equipment
Power Supplies - External/Internal (Off-Board)
Sensors, Transducers
Batteries, Chargers, Holders
View more