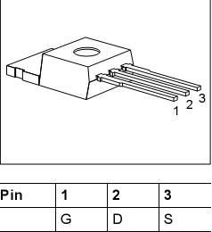
Features: *N channel *Logic level *Enhancement mode *Temperature sensor with thyristor characteristic *The drain pin is electrically shorted to the tabPinoutSpecifications Parameter Symbol Values Unit Drain-source voltage VDS 100 V Drain-gate voltage, RGS = 20 k VDGR 1...
BTS 121A: Features: *N channel *Logic level *Enhancement mode *Temperature sensor with thyristor characteristic *The drain pin is electrically shorted to the tabPinoutSpecifications Parameter ...
SeekIC Buyer Protection PLUS - newly updated for 2013!
268 Transactions
All payment methods are secure and covered by SeekIC Buyer Protection PLUS.

| Parameter | Symbol | Values | Unit |
| Drain-source voltage | VDS | 100 | V |
| Drain-gate voltage, RGS = 20 k | VDGR | 100 | |
| Gate-source voltage | VGS | 10 | |
| Continuous drain current, TC = 25 C | ID | 22 | A |
| ISO drain current | ID-ISO | 3.5 | |
| TC = 85 C, VDS = 10 V, VDS = 0.5 V | |||
| Pulsed drain current, TC = 25 C | ID puls | 88 | |
| Short circuit current, Tj = 55 ... + 150 C | ISC | 68 | |
| Short circuit dissipation, Tj = 55 ... + 150 C | PSCmax | 800 / 1000 | W |
| VDS 50 V / VDS 15 V | |||
| Power dissipation | Ptot | 95 | |
| Operating and storage temperature range | Tj, Tstg | 55 ... + 150 | C |
| DIN humidity category, DIN 40 040 | E | ||
| IEC climatic category, DIN IEC 68-1 | 55/150/56 | ||
| Thermal resistance | K/W | ||
| Chip-case | Rth JC | 1.32 | |
| Chip-ambient | Rth JA | 75 | |