Schottky (Diodes & Rectifiers) Schottky Rectifier
CSHD6-100C: Schottky (Diodes & Rectifiers) Schottky Rectifier
SeekIC Buyer Protection PLUS - newly updated for 2013!
268 Transactions
All payment methods are secure and covered by SeekIC Buyer Protection PLUS.
| Product : | Schottky Rectifiers | Peak Reverse Voltage : | 100 V | ||
| Forward Continuous Current : | 6 A | Max Surge Current : | 50 A | ||
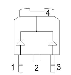
| Configuration : | Dual | Forward Voltage Drop : | 1.1 V | ||
| Maximum Reverse Leakage Current : | 30 uA | Mounting Style : | SMD/SMT | ||
| Package / Case : | DPAK | Packaging : | Reel |

|
SYMBOL |
UNITS | ||
| Peak Repetitive Reverse Voltage |
VRRM |
100 |
V |
| Average Rectified Forward Current (TC=120°C) |
IO |
6.0 |
A |
| Peak Forward Surge Current (tp=10ms) |
IFSM |
50 |
A |
| Peak Repetitive Reverse Surge Current (tp=2s) |
IRRM |
1.0 |
A |
| Critical Rate of Rise of Reverse Voltage |
dV/dt |
10,000 |
V/s |
| Operating and Storage | |||
| Junction Temperature |
TJ, Tstg |
-65 to +150 |
°C |
| Thermal Resistance |
QJC |
3.5 |
°C/W |