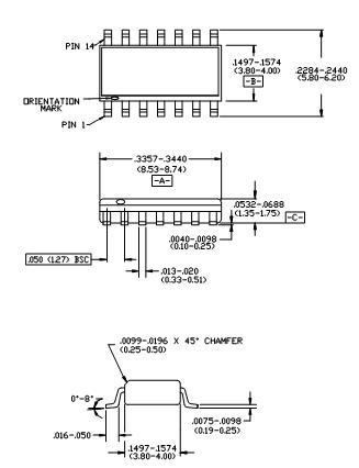
Features: High Output SensitivitySmall, SMT, Plastic SO-14 PackageSingle Design to Cover Cellular, PCS and UMTS BandsSingle Ended or Differential OutputPinoutSpecifications Parameter Absolute Maximum Max Input Power +23 dBm Applied Voltage (VCC) +10V Operating Temperature -40°C...
DT65-0006: Features: High Output SensitivitySmall, SMT, Plastic SO-14 PackageSingle Design to Cover Cellular, PCS and UMTS BandsSingle Ended or Differential OutputPinoutSpecifications Parameter Absolut...
SeekIC Buyer Protection PLUS - newly updated for 2013!
268 Transactions
All payment methods are secure and covered by SeekIC Buyer Protection PLUS.

| Parameter | Absolute Maximum |
| Max Input Power | +23 dBm |
| Applied Voltage (VCC) | +10V |
| Operating Temperature | -40°C to +85°C |
| Storage Temperature | -65°C to +125°C |
M/A-COM's DT65-0006 is a plastic detector in an SMT plastic package. The DT65-0006 usable input power range is from Tss to +20 dBm. Square law response is from Tss to approximately15 dBm, linear range is between15 dBm and approximately +6 dBm with saturation through +20 dBm and burnout occurring beyond+23 dBm.
This bias schottky detector DT65-0006 offers generally high sensitivity (K). The RF power handling of these detectors make them particularly useful in signal processing and power monitor-ing for telecommunication equipment. An internal reference diode is provided for use as a differential detector.