MOSFET DUAL Pwr MOSFET & SCHOTTKY DIODE
FDFM2P110: MOSFET DUAL Pwr MOSFET & SCHOTTKY DIODE
SeekIC Buyer Protection PLUS - newly updated for 2013!
268 Transactions
All payment methods are secure and covered by SeekIC Buyer Protection PLUS.
| Transistor Polarity : | P-Channel | Drain-Source Breakdown Voltage : | - 20 V | ||
| Gate-Source Breakdown Voltage : | +/- 12 V | Continuous Drain Current : | 3.5 A | ||
| Resistance Drain-Source RDS (on) : | 0.14 Ohms | Configuration : | Single Dual Source | ||
| Maximum Operating Temperature : | + 150 C | Mounting Style : | SMD/SMT | ||
| Package / Case : | MLP-6 | Packaging : | Reel |

|
Symbol |
Parameter |
Ratings |
Units | |
|
VDSS VGSS |
Drain-Source Voltage Gate-Source Voltage |
20 ± 12 3.5 10 20 2 2.4 1.2 55 to +150 |
V V A V A W °C | |
|
ID |
Drain Current Continuous Pulsed |
(Note 1a) | ||
| VRRM | Schottky Repetitive Peak Reverse Voltage | |||
| IO | Schottky Average Forward Current | (Note 1a) | ||
|
PD |
Power Dissipation (Steady State) | (Note 1a) (Note 1b) | ||
|
TJ, TSTG |
Operating and Storage Junction Temperature Range | |||
| RJA RJA |
Thermal Resistance, Junction-to-Ambient Thermal Resistance, Junction-to-Ambient |
(Note 1a) (Note 1b) |
60 145 |
°C/W |
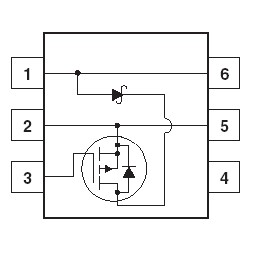
FDFM2P110 combines the exceptional performance of Fairchild's PowerTrench MOSFET technology with a very low forward voltage drop Schottky barrier rectifier in a MicroFET package. This device is designed specifically as a single package solution for DC to DC converters. It features a fast switching, low gate charge MOSFET with very low on-state resistance.
| Technical/Catalog Information | FDFM2P110 |
| Vendor | Fairchild Semiconductor |
| Category | Discrete Semiconductor Products |
| Mounting Type | Surface Mount |
| FET Polarity | P-Channel |
| Drain to Source Voltage (Vdss) | 20V |
| Current - Continuous Drain (Id) @ 25° C | 3.5A |
| Rds On (Max) @ Id, Vgs | 140 mOhm @ 3.5A, 4.5V |
| Input Capacitance (Ciss) @ Vds | 280pF @ 10V |
| Power - Max | 800mW |
| Packaging | Tape & Reel (TR) |
| Gate Charge (Qg) @ Vgs | 4nC @ 4.5V |
| Package / Case | 6-MLP |
| FET Feature | Diode (Isolated) |
| Lead Free Status | Lead Free |
| RoHS Status | RoHS Compliant |
| Other Names | FDFM2P110 FDFM2P110 |