Features: • Full Compliance with ANSI X3T11 Fibre Channel Physical and Signaling Interface• Multisourced 1x9 Package Style with Duplex SC Connector• Wave Solder and Aqueous Wash Process Compatibility• Compatible with Various Manufacturers FC-0 and FC-1 CircuitsApplication...
HFBR-5301: Features: • Full Compliance with ANSI X3T11 Fibre Channel Physical and Signaling Interface• Multisourced 1x9 Package Style with Duplex SC Connector• Wave Solder and Aqueous Wash Pr...
SeekIC Buyer Protection PLUS - newly updated for 2013!
268 Transactions
All payment methods are secure and covered by SeekIC Buyer Protection PLUS.

| Parameter | Symbol | Min | Typ. | Max | Unit | Notes |
| Storage Temperature | TS | -40 | 100 | °C | ||
| Lead Soldering Temperature | TSOLD | 260 | °C | |||
| Lead Soldering Time | tSOLD | 10 | sec. | |||
| Supply Voltage | VCC | -0.5 | 7.0 | V | ||
| Data Input Voltage | VI | -0.5 | VCC | V | ||
| Differential Input Voltage | VD | 1.4 | V | Note 1 | ||
| Output Current | IO | 50 | mA |
The HFBR-5301 and HFBR-5302 Fibre Channel Transceivers from Hewlett-Packard provide the system designer with products to implement Fibre Channel designs for use in multimode fiber (MMF) applications. These include the 12.5 MB/sec 12-M6-LE-I interface and the 25 MB/sec 25-M6-LE-I interface for 1300 nm LED links.
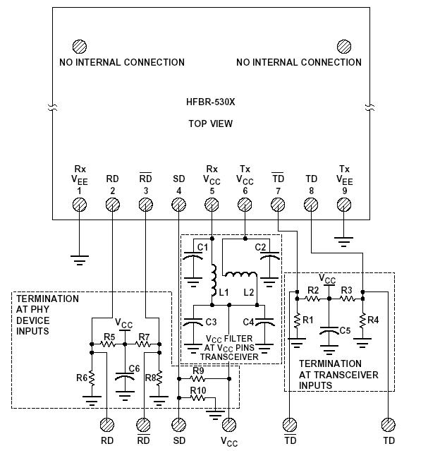
The HFBR-5301 and HFBR-5302 products are produced in the new industry standard 1x9 SIP package style with a duplex SC connector interface as defined in the Fiber Channel ANSI FC-PH standard document.
In the HFBR-5301 and HFBR-5302 series, the HFBR-5301 is a 1300 nm transceiver specified for use in 133 MBd, 12.5 MB/s, 12-M6-LE-I Fibre Channel interfaces to either 62.5/125 mm or 50/125 mm multimode fiber-optic cables. The HFBR-5302 is a 1300 nm transceiver specified for use in 266 MBd, 25 MB/s, 25-M6-LE-I Fibre Channel interfaces to either 62.5/125 mm or 50/125 mm multimode fiber-optic cables.