Features: High Isolation: >80 dB @ 5 MHz (50 Ohm) >55 dB @ 1 GHz (50 Ohm) All Off Isolation StateNon-Refl ective Design, 75 Ohm Terminations3 mm x 3 mm x 1 mm SMT PackageApplicationThe HMC348LP3 is ideal for:• 75 Ohm Systems CATV Signal Distribution, Cable Modem Headend & DBS IF S...
HMC348LP3: Features: High Isolation: >80 dB @ 5 MHz (50 Ohm) >55 dB @ 1 GHz (50 Ohm) All Off Isolation StateNon-Refl ective Design, 75 Ohm Terminations3 mm x 3 mm x 1 mm SMT PackageApplicationThe HMC348...
SeekIC Buyer Protection PLUS - newly updated for 2013!
268 Transactions
All payment methods are secure and covered by SeekIC Buyer Protection PLUS.
DescriptionThe HMC304MS8(E) is a passive high IP3 mixer in 8 lead plastic surface mount Mini Small...

| Bias Voltage Range (Vdd) | -7.0 Vdc |
| RF Input Power | +30 dBm |
| Control Voltage Range (A & B) | +0.5V to Vdd + 1.0 Vdc |
| Channel Temperature | 150 °C |
| Continuous Pdiss (T = 85 °C) (derate 4 mW/°C above 85 °C) |
0.3 W |
| Thermal Resistance (Insertion Loss Path) |
104 °C/W |
| Thermal Resistance (Insertion Loss Path) |
240 °C/W |
| Storage Temperature | -65 to +150 °C |
| Operating Temperature | -40 to +85 °C |
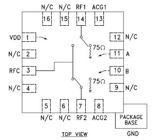
The HMC348LP3 is a non-refl ective GaAs MESFET SPDT switch in a low cost leadless QFN surface mount plastic package ideal for CATV applications. Covering DC to 2.5 GHz, the switch offers high isolation, low insertion loss, integrated 75 Ohm terminations and an "all off" state. The HMC348LP3 switch features >80 dB isolation at 5 MHz and >55 dB isolation up to 1 GHz. The switch operates using complementary positive control voltage logic lines of +5/0V and requires a +5V bias supply (Vdd). This switch offers excellent performance in both 50 Ohm & 75 Ohm systems for either SPDT or SPST functions.