Features: Ultra Low SSB Phase Noise: -150 dBc/HzSingle-Ended I/O'sOutput Power: -2 dBmSingle DC Supply: +3V @ 62 mA9 mm2 Ultra Small Package: SOT26ApplicationPrescaler for DC to C Band PLL Applications:• UNII, Pt. - Pt. & VSAT Radios• 802.11a & HiperLAN WLAN• Fiber Optic&...
HMC434: Features: Ultra Low SSB Phase Noise: -150 dBc/HzSingle-Ended I/O'sOutput Power: -2 dBmSingle DC Supply: +3V @ 62 mA9 mm2 Ultra Small Package: SOT26ApplicationPrescaler for DC to C Band PLL Applicati...
SeekIC Buyer Protection PLUS - newly updated for 2013!
268 Transactions
All payment methods are secure and covered by SeekIC Buyer Protection PLUS.
DescriptionThe HMC400MS8(E) is a high dynamic range passive MMIC mixer in plastic surface mount 8 ...
Features: Pout: -7 dBmPhase Noise: -105 dBc/Hz @100 KHz Typ.No External Resonator NeededSingle Sup...

| RF Input (Vcc= +5V) | +13 bBm |
| Vcc | +5.5 Vdc |
| Maximum Channel Temperature | 135 °C |
| Continuous Pdiss (T = 85°C) (derate 5.35 mW/°C above 85°C) |
268 mW |
| Storage Temperature | -65 to +150 °C |
| Operating Temperature | -40 to +85 °C |
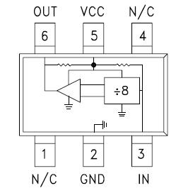
The HMC434 is a low noise Divide-by-8 Static Divider utilizing InGaP GaAs HBT technology in an ultra small surface mount SOT26 plastic package. This HMC434 operates from DC (with a square wave input) to 8.0 GHz input frequency with a single +3.0V DC supply. Single-ended inputs and outputs reduce component count and cost. The low additive SSB phase noise of -150 dBc/Hz at 100 kHz offset helps the user maintain good system noise performance.