Features: Single chip synthesized tuner for dual-band DAB and FMreceiverLow-IF single-conversion architecture which eliminates allSAW filtersCovers whole band-III (174 ~ 245 MHz), L-band (1450 ~ 1592MHz) and FM (88 ~ 108 MHz)Operating dynamic range : -102 ~ -10 dBmUltra low power consumption: Band...
ITD3020: Features: Single chip synthesized tuner for dual-band DAB and FMreceiverLow-IF single-conversion architecture which eliminates allSAW filtersCovers whole band-III (174 ~ 245 MHz), L-band (1450 ~ 159...
SeekIC Buyer Protection PLUS - newly updated for 2013!
268 Transactions
All payment methods are secure and covered by SeekIC Buyer Protection PLUS.

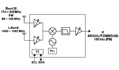
The ITD3020 is a highly integrated CMOS single chip low-IF single-conversion tuner IC for dual-band DAB (Digital audio broadcasting) and FM. It supports Eureka-147 DAB standard along with analog FM. It includes 2 LNAs, 2 RF PGAs, 2 imagerejection down-conversion mixers, a bandwidth adjustable low pass filter, an IF variable gain amplifier, a VCO and a fractional- N PLL, etc. On-chip low phase noise VCO along with high resolution fractional-N frequency synthesizer make in-band phase noise lower than that of any other conventional tuners.
The ITD3020 also includes several regulators, which make it possible to use single 2.85 V power supply.
The ITD3020 exhibits ultra low power consumption such as 100 mW. Using small leadless 6 mm × 6 mm 40-LD QFN package,the ITD3020 is the best solution for highly integrated mu tituner system and portable application where low power consumption is critical. It has an industry standard I2C serial bus interface. Primary application of the ITD3020 is dual-band DAB/FM mobile phones and the portable DAB/FM receiver.