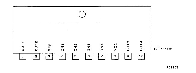
Features: · Four buffer amp circuits on chip· High output current (Io max = 0.5 A) ·Includes current limiter · Broad operating voltage range (±2 to +12 V) ·Single power supply operation possible (4 to 24 V)·Thermal shutdown circuit built-in.PinoutSpecifications Parameter Symbol Conditions...
LA6524: Features: · Four buffer amp circuits on chip· High output current (Io max = 0.5 A) ·Includes current limiter · Broad operating voltage range (±2 to +12 V) ·Single power supply operation possible (4 ...
SeekIC Buyer Protection PLUS - newly updated for 2013!
268 Transactions
All payment methods are secure and covered by SeekIC Buyer Protection PLUS.

| Parameter |
Symbol |
Conditions | Ratings |
Unit |
| Maximum supply voltage | VCC/VEE | ±15 |
V | |
| Maximum output current | VIN | ±14 |
V | |
| Allowable power dissipation |
Pd max |
When using Al heat sink ( 50 x 50 x 1.5 mm3 ) |
2.0 |
W |
| Operating temperature |
Topr |
20 to +75 | ||
| Storage temperature |
Tstg |
40 to +125 |