Features: *HIGH SPEED: tPD= 15 ns (TYP.) at VCC= 4.5V*LOW POWER DISSIPATION: ICC = 4µA(MAX.) at TA=25°C*COMPATIBLE WITH TTL OUTPUTS : VIH = 2V (MIN.) VIL = 0.8V (MAX)*BALANCED PROPAGATION DELAYS: tPLH tPHL *SYMMETRICAL OUTPUT IMPEDANCE: |IOH| = IOL = 6mA (MIN)*PIN AND FUNCTION COMPATIBLE WI...
M74HCT244: Features: *HIGH SPEED: tPD= 15 ns (TYP.) at VCC= 4.5V*LOW POWER DISSIPATION: ICC = 4µA(MAX.) at TA=25°C*COMPATIBLE WITH TTL OUTPUTS : VIH = 2V (MIN.) VIL = 0.8V (MAX)*BALANCED PROPAGATION DEL...
SeekIC Buyer Protection PLUS - newly updated for 2013!
268 Transactions
All payment methods are secure and covered by SeekIC Buyer Protection PLUS.

| Symbol | Parameter | Value | Unit |
| VCC | Supply Voltage | -0.5 to +7 | V |
| VI | DC Input Voltage | -0.5 to VCC + 0.5 | V |
| VO | DC Output Voltage | -0.5 to VCC + 0.5 | V |
| IIK | DC Input Diode Current | ± 20 | mA |
| IOK | DC Output Diode Current | ± 20 | mA |
| IO | DC Output Current | ± 25 | mA |
| ICC or IGND | DC VCC or Ground Current | ± 50 | mA |
| PD | Power Dissipation | 500(*) | mW |
| Tstg | Storage Temperature | -65 to +150 | |
| TL | Lead Temperature (10 sec) | 300 |
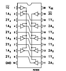
The 74HCT244 is an advanced high-speed CMOS OCTAL BUS BUFFER (3-STATE) fabricated with silicon gate C2MOS technology.G control input governs four BUS BUFFERs.
All inputs are equipped with protection circuits against static discharge and transient excess voltage.