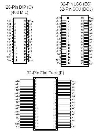
Features: • High Speed: 20, 25, 35, and 45• Battery Backup: 2V data retention• Low power standby• Single +5V (+10%) Power Supply• Easy memory expansion with CE\ and OE\ options.• All inputs and outputs are TTL compatible• Three-state outputPinoutSpecificat...
MT5C1001: Features: • High Speed: 20, 25, 35, and 45• Battery Backup: 2V data retention• Low power standby• Single +5V (+10%) Power Supply• Easy memory expansion with CE\ and OE\...
SeekIC Buyer Protection PLUS - newly updated for 2013!
268 Transactions
All payment methods are secure and covered by SeekIC Buyer Protection PLUS.
