Features: • On Resistance is 20 Typical at 5.0 V• Matching is < 1 Between Sections• 2 - 6 V Operating Range• Ultra Low < 5 pC Charge Injection• Ultra Low Leakage < 1 nA at 5.0 V, 25°C• Wide Bandwidth > 200 MHz, -3 dB• CMOS/TTL Compatible̶...
NLAS324: Features: • On Resistance is 20 Typical at 5.0 V• Matching is < 1 Between Sections• 2 - 6 V Operating Range• Ultra Low < 5 pC Charge Injection• Ultra Low Leakag...
SeekIC Buyer Protection PLUS - newly updated for 2013!
268 Transactions
All payment methods are secure and covered by SeekIC Buyer Protection PLUS.
US $.2 - .23 / Piece
Multiplexer Switch ICs 2:1 Mux/Demux Switch -55 to 125deg C

| Symbol | Parameter | Value | Unit |
| VCC | Positive DC Supply Voltage | -0.5 to +7.0 | V |
| VI | Analog Input Voltage (VNO or VCOM) | -0.5 to +7.0 | V |
| VO | DC Output Voltage | -0.5 to +7.0 | V |
| IIK | DC Input Diode Current VI < GND | -50 | mA |
| IOK | DC Output Diode Current VO < GND | -50 | mA |
| IO | DC Output Sink Current | ±50 | mA |
| ICC | DC Supply Current per Supply Pin | ±100 | mA |
| IGND | DC Ground Current per Ground Pin | ±100 | mA |
| TSTG | Storage Temperature Range | -65 to +150 | °C |
| TL | Lead Temperature, 1 mm from Case for 10 Seconds | 260 | °C |
| TJ | Junction Temperature under Bias | +150 | °C |
| JA | Thermal Resistance (Note 1) | 250 | °C/W |
| PD | Power Dissipation in Still Air at 85°C | 250 |
mW |
| MSL | Moisture Sensitivity | Level 1 | |
| FR | Flammability Rating Oxygen Index: 28 to 34 | UL 94 V-0 @ 0.125 in | |
| VESD | ESD Withstand Voltage Human Body Model (Note 2) Machine Model (Note 3) Charged Device Model (Note 4) |
> 2000 > 150 N/A |
V |
Maximum Ratings are those values beyond which damage to the device may occur. Exposure to these conditions or conditions beyond those indicated may adversely affect device reliability. Functional operation under absolute maximum-rated conditions is not implied. Functional operation should be restricted to the Recommended Operating Conditions.
1. Measured with minimum pad spacing on an FR4 board, using 10 mm-by-1 inch, 2-ounce copper trace with no air flow.
2. Tested to EIA/JESD22-A114-A.
3. Tested to EIA/JESD22-A115-A.
4. Tested to JESD22-C101-A.
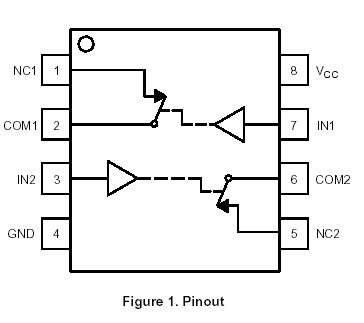
The NLAS324 is a dual SPST (Single Pole, Single Throw) switch, similar to 1/2 a standard 4066. The device permits the independent selection of 2 analog/digital signals. Available in the Ultra-Small 8 package.
The use of advanced 0.6 CMOS process, NLAS324 improves the RON resistance considerably compared to older higher voltage technologies.