Features: • Attenuation: 0.5 dB steps to 31.5 dB• Flexible parallel and serial programming interfaces• Unique power-up state selection• Positive CMOS control logic• High attenuation accuracy and linearity over temperature and frequency• Very low power consumptio...
PE4302-EK: Features: • Attenuation: 0.5 dB steps to 31.5 dB• Flexible parallel and serial programming interfaces• Unique power-up state selection• Positive CMOS control logic• Hig...
SeekIC Buyer Protection PLUS - newly updated for 2013!
268 Transactions
All payment methods are secure and covered by SeekIC Buyer Protection PLUS.

| Symbol | Parameter/Conditions | Min | Max | Units |
| VDD | Supply voltage | -0.3 | 4.0 | V |
| VI | Voltage on any input | -0.3 | VDD+ 0.3 |
V |
| TST | Storage temperature range | -65 | 150 | °C |
| TOP | Operating temperature range | -40 | 85 | °C |
| VESD | ESD voltage (Human Body Model) | 500 | V | |
| PIN | Maximum input power | 24 | dBm |
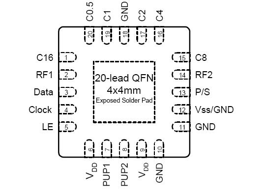
The PE4302 is a high linearity, 6-bit RF Digital Step Attenuator "DSA" covering a 31.5 dB attenuation range in 0.5 dB steps. This 50-ohm RF DSA provides both parallel and serialCMOS control interface operates on a single 3-volt supply and maintains high attenuation accuracy over frequency and temperature. PE4302 also has a unique control interface that allows the user to select an initial attenuation state at power-up. The PE4302 exhibits very low insertion loss and low power consumption. This functionality is delivered in a 4x4mm QFN footprint.
The PE4302 is manufactured in Peregrine's patented Ultra Thin Silicon (UTSi®) CMOS process, offering the performance of GaAs with the economy and integration of conventional CMOS.