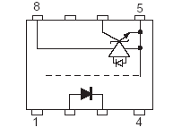
High Speed Optocouplers USE 551-PS9614L-A
SeekIC Buyer Protection PLUS - newly updated for 2013!
268 Transactions
All payment methods are secure and covered by SeekIC Buyer Protection PLUS.
| Maximum Baud Rate : | 10 MBps | Packaging : | Tube |

|
SYMBOLS |
PARAMETERS |
UNITS |
RATINGS |
| Diode | |||
|
IF |
Forward Current |
mA |
30 |
|
VR |
Reverse Voltage |
V |
3 |
| Detector | |||
|
VCC |
Supply Voltage |
V |
7 |
|
VO |
Output Voltage |
V |
7 |
|
IO |
Output Current |
mA |
25 |
|
PC |
Power Dissipation |
mW |
40 |
|
BV |
Isolation Voltage*2 |
Vr.m.s. |
3750 |
|
TA |
Operating Ambient Temp |
−40 to +85 | |
|
Tstg |
Storage Temperature |
−55 to +125 | |
NEC's PS9614 and PS9614L are optically coupled isolators containing a GaAIAs LED on the light emitting diode (input)
side and a photodiode and a signal procesing circuit on the detector (output) side on one chip. The PS9614 is in a plastic DIP (Dual In-line Package) and the PS9614L is a lead-bending type (Gull-wing) for surface mount.