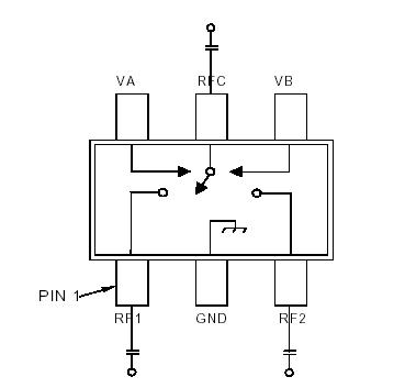
Features: Low Insertion Loss: <0.7 dB @ 900 MHz Low Power Consumption: <10mA @ =3 VDC Very High Intercept Point: 52 dBm IP3 Both Positive and Negative 3 to 8 V Control Low Cost SOT-26 PackagePinoutSpecifications Parameter Absolute Maximum Input PowerOperating VoltageOperating...
SW-395: Features: Low Insertion Loss: <0.7 dB @ 900 MHz Low Power Consumption: <10mA @ =3 VDC Very High Intercept Point: 52 dBm IP3 Both Positive and Negative 3 to 8 V Control Low Cost SOT-26 Package...
SeekIC Buyer Protection PLUS - newly updated for 2013!
268 Transactions
All payment methods are secure and covered by SeekIC Buyer Protection PLUS.
Low Insertion Loss: <0.7 dB @ 900 MHz
Low Power Consumption: <10mA @ =3 VDC
Very High Intercept Point: 52 dBm IP3
Both Positive and Negative 3 to 8 V Control
Low Cost SOT-26 Package

|
Parameter |
Absolute Maximum |
|
Input Power |
+33 dBm +8.5 Volts -40°C to +85°C -65°C to +150°C |
M/A-COM's SW-395 is a GaAs monolithic switch in a low cost SOT-26 surface mount plastic package. The SW-395 is ideally suited for applications where very low power consumption, low intermodulation products, very small size and low cost are required. Typical application is an internal/external antenna
select switch for portable telephones and data radios. In addition, because of its low loss, good isolation and inherent speed, the SW-395 can be used as a conventional T/R switch or as an antenna diversity switch. The SW-395 can be used in power applications up to 0.5 Watts in systems such as cellular, PCN, GSM an other analog/digital wireless communications systems.
The SW-395 is fabricated using a mature 1-micron gate length GaAs MESFET process. The process features full chip passivation for increased performance and reliability.