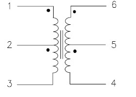
PinoutSpecifications PARAMETER UNITS Primary / Secondary Impedance 600/600Turns Ratio* 1CT: 1CTLongitudinal Balance 60 min.200 - 4000 HzDC Resistance* 37Frequency Response +1 300 - 3000HzInsertion Loss 2.0 min. @ 1kHzIsolation (HI-POT) 1500Insulation Resistance 5000 min. @100 VPrimary DC ...
T-759: PinoutSpecifications PARAMETER UNITS Primary / Secondary Impedance 600/600Turns Ratio* 1CT: 1CTLongitudinal Balance 60 min.200 - 4000 HzDC Resistance* 37Frequency Response +1 300 - 3000HzIn...
SeekIC Buyer Protection PLUS - newly updated for 2013!
268 Transactions
All payment methods are secure and covered by SeekIC Buyer Protection PLUS.

| PARAMETER | UNITS |
| Primary / Secondary Impedance 600/600 Turns Ratio* 1CT: 1CT Longitudinal Balance 60 min. 200 - 4000 Hz DC Resistance* 37 Frequency Response +1 300 - 3000Hz Insertion Loss 2.0 min. @ 1kHz Isolation (HI-POT) 1500 Insulation Resistance 5000 min. @100 V Primary DC None Inductance 1.4 Tested @ 300 Hz & 1.8 V Return Loss 20 min @ 1kHz Total Harmonic Distortion -80 @ 450 Hz, Level @Load -9dBm |
|