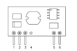
Features: • Non-Isolated • OCP/SCP• Fixed Frequency • Remote On/Off• High Efficiency • Wide Trim Range• High Power Density • Wide Input Range• Under-voltage Lockout (UVLO) • Active Low/High (Option)PinoutSpecifications Parameter Min...
V7BA-03E1Ax: Features: • Non-Isolated • OCP/SCP• Fixed Frequency • Remote On/Off• High Efficiency • Wide Trim Range• High Power Density • Wide Input Range• U...
SeekIC Buyer Protection PLUS - newly updated for 2013!
268 Transactions
All payment methods are secure and covered by SeekIC Buyer Protection PLUS.

| Parameter | Min | Typ | Max | Notes |
| Input Voltage (continuous) | -0.3V | - | 15V | |
| Output Enable Terminal Voltage | -0.3V | - | 15V | |
| Ambient Temperature | -40 | - | 85 | |
| Storage Temperature | -55 | - | 125 |
The Bel V7BA-03E1Ax modules are a series of non-isolated DC/DC converters that deliver up to 3A of output current with full load efficiency of 93% at 5.0V output. These modules provide precisely regulated voltage programmable via external resistor from 0.75V to 5.0V over a wide range of input voltage. Their open-frame construction and small footprint enable designers to develop cost and space-efficient solutions. Standard features include remote On/Off, programmable output voltage and over current protection.