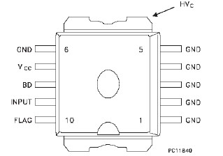
Features: PRIMARY COIL VOLTAGE INTERNALLY SET COIL CURRENT LIMIT INTERNALLY SET LOGIC LEVEL COMPATIBLE INPUT DRIVING CURRENT QUASI PROPORTIONAL TO COLLECTOR CURRENT SINGLE FLAG-ON COIL CURRENT PinoutSpecifications Symbol Parameter Value Unit HVC Collector Voltage (Internally Limite...
VB026BSP: Features: PRIMARY COIL VOLTAGE INTERNALLY SET COIL CURRENT LIMIT INTERNALLY SET LOGIC LEVEL COMPATIBLE INPUT DRIVING CURRENT QUASI PROPORTIONAL TO COLLECTOR CURRENT SINGLE FLAG-ON COIL CURRENT Pino...
SeekIC Buyer Protection PLUS - newly updated for 2013!
268 Transactions
All payment methods are secure and covered by SeekIC Buyer Protection PLUS.

| Symbol | Parameter | Value | Unit |
| HVC | Collector Voltage (Internally Limited) | -0.3 to Vclamp | V |
| IC | Collector Current (Internally Limited) | 10 | A |
| IC(gnd) | DC Current on Emitter Power | ± 10.5 (*) | A |
| VCC | Driving Stage Supply Voltage | -0.3 to 7 | V |
| Is | Driving Circuitry Supply Current | ± 200 | mA |
| Is(gnd) | DC Current on Ground Pin | ±1 | A |
| Vin | Input Voltage | -0.3 to VCC + 0.3 | V |
| Iin | Maximum Input Current | 100 | mA |
| fin | Logic Input Frequency in Operative Mode | DC to 150 | Hz |
| Vout(flag) | Output Voltage Primary Threshold Current Level | -0.3 to VCC + 0.3 | V |
| Iout(f lag) | Flag Output Current | 100 | mA |
| Pmax | Power Dissipation (TC = 105 ) | TBD | W |
| Es/b | Clamped Energy During Output Power Clamping | 300 | mJ |
| VESD | ESD Voltage (HVC Pin) | ±4 | KV |
| VESD | ESD Voltage (Other Pins) | ±2 | KV |
| IBD | Input Darlington Base Current | 150 | mA |
| VBD | Input Darlington Base Voltage | Internally Limited | V |
| Tj | Operating Junction Temperature | -40 to 150 | |
| Tstg | Storage Temperature Range | -55 to 150 |
The VB026BSP is a high voltage power integrated circuit made using STMicroelectronics VIPower Technology, with vertical current flow power darlingtonand logic level compatible driving circuit.
Built-in protection circuits for coil current limiting and collector voltage clamping allows the VB026BSP to be used as a smart, high voltage,high current interface in advanced electronic ignition systems.