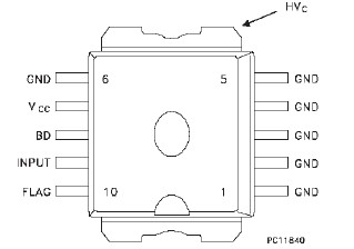
Features: PRIMARY COIL VOLTAGE INTERNALLY SET COIL CURRENT LIMIT INTERNALLY SET LOGIC LEVEL COMPATIBLE INPUT DRIVING CURRENT QUASI PROPORTIONAL TO COLLECTOR CURRENT DOUBLE FLAG-ON COIL CURRENTPinoutSpecifications Symbol Parameter Value Unit HVc Collector voltage Internally limite...
VB027ASP: Features: PRIMARY COIL VOLTAGE INTERNALLY SET COIL CURRENT LIMIT INTERNALLY SET LOGIC LEVEL COMPATIBLE INPUT DRIVING CURRENT QUASI PROPORTIONAL TO COLLECTOR CURRENT DOUBLE FLAG-ON COIL CURRENTPinout...
SeekIC Buyer Protection PLUS - newly updated for 2013!
268 Transactions
All payment methods are secure and covered by SeekIC Buyer Protection PLUS.

| Symbol | Parameter | Value | Unit |
| HVc | Collector voltage | Internally limited | V |
| IC | Collector current | Internally limited | A |
| Vd | Driving stage supply voltage | 7 | V |
| Id | Driving circuitry supply current | 200 | mA |
| VIN | Input voltage | 10 | V |
| Tj | Junction operating temperature | -40 to 150 | °C |
| Tstg | Storage temperature | -55 to 150 | °C |