Published:2009/7/1 20:06:00 Author:May | From:SeekIC

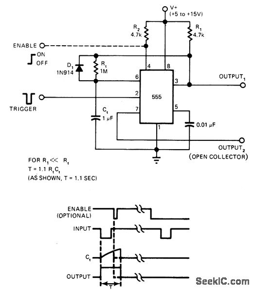
Circuit variation shown for original IC timer prototype has same timing equation and input trigger requirements for standard connection but provides two outputs rather than one. This is achieved by using pin 7 of IC as an open-collector output that can be referred to any supply voltage between 0 and +15 V regardless of voltage used for timer. Article describes operation in detail and points out possible drawbacks, including possibility of timing error for high duty cycle operation because C1 takes longer to discharge than in conventional monostable MVBR -W G. Jung, Take a Fresh Look at New IC Timer Applications, EDN Magazine, March 20, 1977, p 127-135.
Reprinted Url Of This Article:
http://www.seekic.com/circuit_diagram/555_Circuit/BASIC_555_MONO.html
Print this Page | Comments | Reading(3)
Code: