Published:2011/9/12 21:17:00 Author:John | Keyword: Toy model sign indication | From:SeekIC


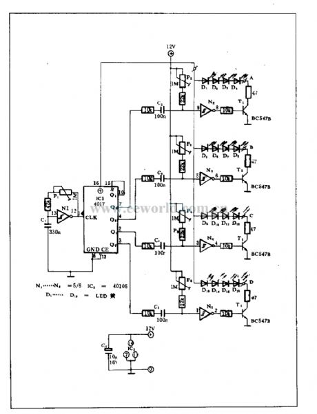
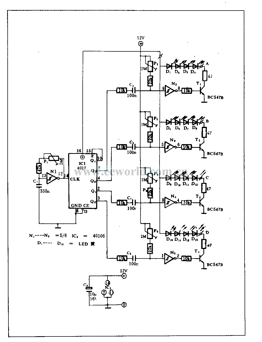
The circuit is generally set in a variety of junctions or corners, aiming to indicate the direction for the toy train or car. The main direction is to rely on its successive group of light-emitting diodes, as shown.
IC14017 is the decimal count splitter, which has five output named Q0~Q4 while only 4 is used to form the quaternary count distributor. N1~N5 are 5 Schmitt triggers. N1 is the oscillator to provide IC1’s clock source. N2 ~ N5 5 are 4 monostable triggers. T1~T4 are the drive circuit for light-emitting diode.
Reprinted Url Of This Article:
http://www.seekic.com/circuit_diagram/555_Circuit/Toy_model_sign_indication_circuit.html
Print this Page | Comments | Reading(3)
Code: