Published:2009/7/20 4:16:00 Author:Jessie | From:SeekIC

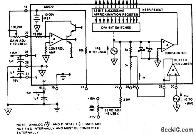
12-bit successive approximation A/D converter for unipolar 0 to +10-volt input range with buffer follower. A/D chip is the AD572 (courtesy Analog Devices, Inc.).
Reprinted Url Of This Article:
http://www.seekic.com/circuit_diagram/A-D_D-A_Converter_Circuit/12_bit_successive_approximation_A_D_converter_for_unipolar_0_to__10_volt_input_range_with_buffer_follower.html
Print this Page | Comments | Reading(3)
Code: