Published:2009/6/30 2:16:00 Author:May | From:SeekIC

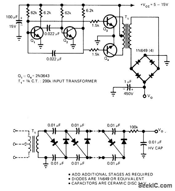
Astable MVBR operating at 2.174 kHz for values shown drives push-pull transistor pair feeding primary of audio input transformer T1. Secondary voltage is rectified by diode bridge to provide DC output voltage ranging from 100 to 400 V depending on load resistance and exact value of supply voltage VCC.Bridge rectifier can be replaced by 40-stage multiplier as shown in lower diagram, to give 10-kVDC output.—A. M. Hudor, Jr., Power Converter Uses Low-Cost Audio Transformer, EDN Magazine, April 20, 1977, p 139.
Reprinted Url Of This Article:
http://www.seekic.com/circuit_diagram/A-D_D-A_Converter_Circuit/5_V_TO_400_V.html
Print this Page | Comments | Reading(3)
Code: