Published:2009/7/6 21:24:00 Author:May | From:SeekIC

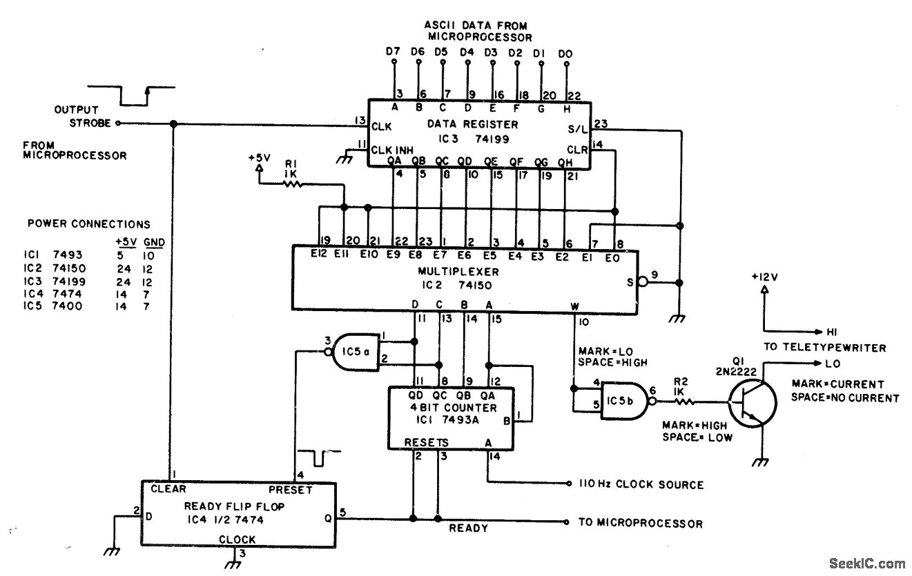
Multiplexer IC2 selects formatting and data bits according to state of IC1, IC3 is output latch Teletypewriter current loop is driven by Q1 from output of multiplexer. 110-Hz clock gives transfer rate of 10 characters per second. Provides standard asynchronous format of 1 start bit, 8 data bits, and 2 stop bits for teletypewriter without using universal asynchronous receiver-transmitter,-G. C. Jewell, How to Drive a Teletype Without a UART, BYTE, Jan, 1977, p 32.
Reprinted Url Of This Article:
http://www.seekic.com/circuit_diagram/A-D_D-A_Converter_Circuit/PARALLEL_TO_SERIAL__CONVERTER.html
Print this Page | Comments | Reading(3)
Code: