Published:2009/7/13 1:55:00 Author:May | From:SeekIC

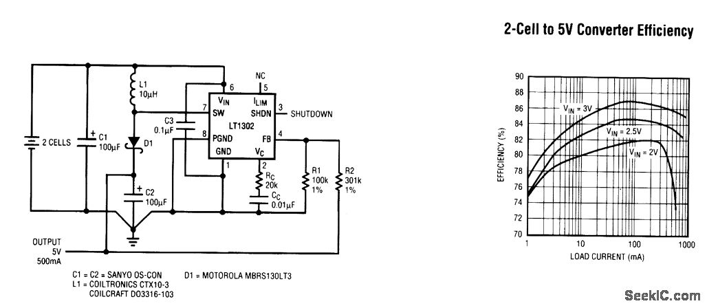
Hand-held instruments, PCMCIA cards, and portable communications gear often require high current for their operation, although only for short periods at a time. Current of 500 mA at 5 V can be obtained from a two-cell battery using a switching regulator controller IC, an external switch transistor, and some discrete components, but the solution is inefficient, space-intensive, and cumbersome. The LT1302 was designed to provide higher output currents by using an integrated 2-A low-loss switch. An output current of 500 mA at 5 V with 85 percent efficiency is possible from two AA cells. Component size is minimized by using a fixed-frequency 220-kHz PWM architecture. The circuit maintains high efficiencies at low load currents by automatically switching to Burst mode operation at lower switch currents.
Reprinted Url Of This Article:
http://www.seekic.com/circuit_diagram/A-D_D-A_Converter_Circuit/TWO_CELL_5_V_500_mA_CONVERTER.html
Print this Page | Comments | Reading(3)
Code: