Published:2009/7/17 3:49:00 Author:Jessie | From:SeekIC

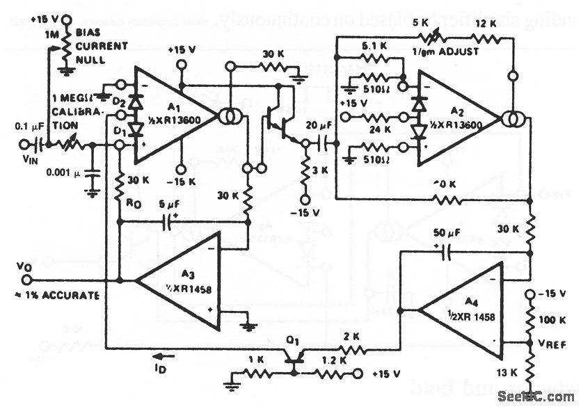
This circuit uses both sections of an XR-13600 (Fig. 11-1B). The circuit is essentially an AGC amplifier, which adjusts the gain such that the output of A1 is constant. The calibration potentiometer is set such that VO reads directly in rms volts. EXAR Corporation Databook 1990, p 5-257
Reprinted Url Of This Article:
http://www.seekic.com/circuit_diagram/A-D_D-A_Converter_Circuit/True_rms_converter.html
Print this Page | Comments | Reading(3)
Code: